Đề thi Đánh giá tư duy Đại học Bách Khoa Hà Nội - ĐỀ 5
Thí sinh đọc kỹ đề trước khi làm bài
Cài đặt đề thi
Vui lòng cài đặt đề thi trước khi làm bài
Câu 1
Bánh xe của người đi xe đạp quay được 11 vòng trong 5 giây. Biết rằng đường kính bánh xe đạp là 600 mm. Quãng đường mà người đi xe đã đi được trong 30 giây là bao nhiêu mét? (Kết quả làm tròn đến hàng đơn vị) .
Huyết áp của mỗi người thay đổi trong ngày. Giả sử huyết áp tâm trương (tức là áp lực máu lên thành động mạch khi tim giãn ra) của một người nào đó ở trạng thái nghỉ ngơi tại thời điểm t được cho bởi công thức: $B(t)=80+7\sin\frac{t\pi}{12}$ (mmHg), trong đó t là số giờ tính từ lúc nửa đêm (0 giờ 00 phút) và $B(t)$ tính bằng mmHg (milimét thủy ngân). Có các đáp án để điền: 87 | 82,68 | 80 | 6 | 7
Câu 2
a) Huyết áp tâm trương của người này vào 10 giờ 30 phút sáng là _______ (mmHg).
Câu 3
b) Huyết áp tâm trương của người này vào 12 giờ trưa là _______ (mmHg).
Câu 4
c) Huyết áp của người đó đạt cao nhất tại thời điểm sớm nhất trong ngày là lúc _______ (giờ).
Cho hàm số $y=\cos x+\sin x$. Trong các phát biểu sau, phát biểu nào đúng, phát biểu nào sai?
Câu 5
Hàm số đã cho tuần hoàn với chu kì $T=\frac{\pi}{2}$
Câu 6
Hàm số đã cho là hàm số chẵn
Câu 7
Số điểm biểu diễn của phương trình $y=\frac{\sqrt{2}}{2}$ trên đường tròn lượng giác là 1
Cho hàm số $y=f(x)=a\sin(bx+c)$ với $(a,b,c\in\mathbb{N})$ có đồ thị như hình vẽ.
Điền đáp án vào các ô trống sau:
Câu 8
a) Chu kì của hàm số là $T=k\pi$. Giá trị của k là: _______.
Câu 9
b) Giá trị của b là: _______.
Người ta quy định mật khẩu của chương trình máy tính gồm 3 kí tự. Điền các số nguyên vào các ô trống thích hợp:
Câu 10
a) Nếu mỗi kí tự là một chữ số. Có thể tạo được số mật khẩu khác nhau là: _______..
Câu 11
b) Theo quy định mới, nếu mật khẩu vẫn gồm 3 kí tự, nhưng kí tự đầu tiên phải là một chữ cái in hoa trong bảng chữ cái tiếng Anh gồm 26 chữ (từ A đến Z) và 2 kí tự sau là các chữ số (từ 0 đến 9). Theo quy định mới, số mật khẩu tạo được nhiều hơn theo quy định cũ là: _______
Cho khai triển $(\frac{1}{\sqrt{2}}+3)^{n}$. Khẳng định nào đúng trong các khẳng định sau?
Câu 12
Số các số hạng trong khai triển là $n+1$.
Câu 13
Với $n=4$ thì có 4 số hạng hữu tỉ.
Câu 14
Số nguyên lẻ trong khai triển là $3^{n}$.
Câu 15
Tỉ số giữa số hạng thứ tư và thứ ba bằng $3\sqrt{2}$ thì $n=6$.
Tổng n số hạng đầu tiên của cấp số cộng $(u_{n})$ là $S=2+4+6+...+2n, \forall n \in \mathbb{N}^{*}$. Trong các phát biểu sau, phát biểu nào đúng, phát biểu nào sai?
Câu 16
Tổng của 10 số hạng đầu tiên của cấp số cộng $(u_{n})$ là 110
Câu 17
$S_{n}=\frac{n(n+1)}{2}$
Câu 18
Số hạng tổng quát của $(u_{n})$ là $u_{n}=2n+1$
Trong các hàm số sau, hàm số nào không tồn tại giới hạn khi $x\rightarrow0$?
Câu 19
$y=|x|$
Câu 20
$y=\frac{|x|}{x}$
Câu 21
$y=\sqrt{x}$
Câu 22
$y=[x]$
Từ một tấm tôn hình vuông có cạnh 8 dm, bác Hùng cắt bỏ bốn phần như nhau ở bốn góc, sau đó bác hàn các mép lại để được một chiếc thùng (không nắp) như hình. Trong các khẳng định sau, khẳng định nào đúng, khẳng định nào sai?
Câu 23
Chiếc thùng nhận được là hình chóp cụt
Câu 24
Cạnh bên của chiếc thùng là 3 dm
Câu 25
Thùng có thể chứa được nhiều nhất 42 lít nước
Câu 26
Cho ngôi nhà 4 mái dốc có kích thước như sau (đáy $9 \times 8$ m, các chiều cao tương ứng 1,5 m và 3 m).
Điền số thích hợp vào ô trống (Làm tròn đến chữ số thập phân thứ hai): Chiều cao từ đỉnh cao nhất của ngôi nhà đến mặt đất là _______ m.
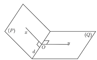
Góc nhị diện $[P, d, Q]$:
Hình gồm hai nửa mặt phẳng $(P)$ và $(Q)$ có chung bờ $d$ được gọi là một góc nhị diện, kí hiệu $[P, d, Q]$. Từ một điểm O thuộc d, kẻ các tia Ox, Oy lần lượt thuộc hai nửa mặt phẳng $(P)$ và $(Q)$ và cùng vuông góc với d. Góc $xOy$ được gọi là góc phẳng nhị diện của $[P, d, Q]$. Số đo của $\widehat{xOy}$ được gọi là số đo của góc $[P, d, Q]$. Gọi A, B lần lượt là 2 điểm thuộc $(P)$ và $(Q)$ ($A,B \notin d$). Khi đó ta coi $[A, d, B]$ như là góc nhị diện $[P, d, Q]$. Cho hình chóp $S.ABC$ có đáy là tam giác vuông cân tại B, $AB=a$, $SA \bot (ABC)$, $SA=a\sqrt{3}$.
Trong các khẳng định sau, khẳng định nào đúng, khẳng định nào sai?
Câu 27
Góc nhị diện $[B, SA, C]$ là góc $\widehat{BSC}$
Câu 28
Góc $[B, SA, C]$ có số đo $45^{\circ}$
Câu 29
Gọi M là trung điểm của SB. Giá trị tan của góc $[M, BC, A]$ là $\frac{\sqrt{3}}{2}$
Câu 30
Cho tứ diện ABCD. Lấy các điểm M và N lần lượt thuộc AD và BC sao cho $\overrightarrow{NB}=-3\overrightarrow{NC}$ , $\overrightarrow{AM}=3\overrightarrow{MD}$. Biết $\overrightarrow{AB}=\vec{a}$, $\overrightarrow{CD}=\vec{b}$. Biết $\overrightarrow{MN}=x\vec{a}-y\vec{b}$. Khi đó $x+y=$ _______.
Hàm Euler của một số nguyên dương N được định nghĩa là số các số nguyên dương nhỏ hơn hoặc bằng N và nguyên tố cùng nhau với N, kí hiệu là $\phi(N)$. Hai số nguyên dương a và b được gọi là nguyên tố cùng nhau nếu $UCLN(a,b)=1$. Chọn các khẳng định đúng:
Câu 31
$\phi(1)=1$.
Câu 32
$\phi(4)=3$.
Câu 33
$\phi(9)=6$.
Câu 34
$\phi(10)=3$
Câu 35
Cho n là số tự nhiên nhỏ nhất khi chia cho 7, 5, 3, 11 có cùng số dư là 1. Khi đó n = _______.
Câu 36
Sau khoảng thời gian từ 0 giờ đến 3 giờ thì kim giây đồng hồ sẽ quay được một góc có số đo bằng:
Câu 37
Có bao nhiêu số nguyên m để phương trình $\sin 3x=\sqrt{2m-1}+1$ có nghiệm?
Câu 38
Một khối cầu ngoại tiếp khối lập phương. Tỉ số thể tích giữa khối cầu và khối lập phương là:
Câu 39
Có bao nhiêu giá trị nguyên m để bất phương trình $\log_{2}^{2}x-(2m+5)\log_{2}x+m^{2}+5m+4<0$ có ít nhất một nghiệm nguyên và không quá 1791 nghiệm nguyên?
Cho hàm số $y=f(x)=\frac{1}{3}x^{3}+ax$ có đồ thị như hình vẽ bên.
Gọi $S_{1}$, $S_{2}$ lần lượt là diện tích của hai hình phẳng được gạch chéo trong hình vẽ bên. Khi $\frac{S_{1}}{S_{2}}=\frac{7}{40}$ thì a thuộc khoảng nào dưới đây?
Câu 40
$(\frac{3}{4};\frac{5}{4})$
Câu 41
$(\frac{1}{3};\frac{1}{2})$
Câu 42
$(0;\frac{1}{3})$
Câu 43
$(\frac{1}{2};\frac{3}{4})$
Hình vẽ bên dưới là đồ thị của hàm số $y=\frac{ax+b}{cx+d}$.
Mệnh đề nào sau đây là đúng?
Câu 44
$ad<0$, $ab<0$
Câu 45
$bd<0$, $ab>0$
Câu 46
$bd>0$, $ad>0$
Câu 47
$ad>0$, $ab<0$
Câu 48
Gọi (C) là tập hợp điểm biểu diễn số phức z thỏa mãn $|z+\bar{z}-4|+4|z-\bar{z}|=8$. Diện tích hình phẳng giới hạn bởi (C) là:
Cho hàm số $y=ax^{2}+bx+c$ có đồ thị như hình bên.
Khẳng định nào sau đây đúng?
Câu 49
$a>0$, $b<0$, $c<0$.
Câu 50
$a>0$, $b<0$, $c>0$.
Câu 51
$a>0$, $b>0$, $c>0$.
Câu 52
$a<0$, $b<0$, $c>0$.
Câu 53
Thiết diện qua trục của một hình nón là một tam giác đều cạnh có độ dài bằng 2a. Thể tích của khối nón là:
Một sinh viên ra trường đi làm ngày 1/1/2020 với mức lương khởi điểm là a đồng mỗi tháng và cứ sau 2 năm lại được tăng thêm 10% và chi tiêu hàng tháng của anh ta là 40% lương. Anh ta dự định mua một căn hộ chung cư giá rẻ có giá trị tại thời điểm 1/1/2020 là 1 tỷ đồng và cũng sau 2 năm thì giá trị căn hộ tăng thêm 5%. Với a bằng bao nhiêu thì sau đúng 10 năm anh ta mua được căn hộ đó, biết rằng mức lương và mức tăng giá trị ngôi nhà là không đổi (kết quả quy tròn đến hàng nghìn đồng)?
Câu 54
11 487 000 đồng.
Câu 55
14 517 000 đồng.
Câu 56
55 033 000 đồng.
Câu 57
21 776 000 đồng.
Câu 58
Có bao nhiêu số nguyên x thỏa mãn $(4^{x}-5.2^{x+2}+64)\sqrt{2-\log(4x)}\ge0$?
Câu 59
Cho một tấm nhôm hình vuông cạnh 2016 (cm). Người ta cắt ở bốn góc của tấm nhôm đó bốn hình vuông bằng nhau, mỗi hình vuông có cạnh bằng x (cm), rồi gập tấm nhôm lại như hình vẽ dưới đây để được một cái hộp không nắp. Tìm x để hộp nhận được có thể tích lớn nhất.
Câu 60
Cho hình chóp đều S.ABCD có cạnh đáy bằng 2a, cạnh bên bằng 3a. Khoảng cách từ A đến (SCD) bằng:
Cho tập hợp $A=\{1;2;3;4;5;6;7;8\}$. Từ tập hợp A có thể lập được bao nhiêu số gồm 8 chữ số đôi một khác nhau sao cho các số này lẻ và không chia hết cho 5?
Câu 61
Câu 62
2260.
Câu 63
40320
Câu 64
. 5120
Câu 65
Cho chóp S.ABC có đáy ABC là tam giác đều cạnh 2a, tam giác SAC vuông cân tại S và nằm trong mặt phẳng vuông góc với đáy. Tính khoảng cách d giữa SC, AB.
Trong không gian Oxyz, cho mặt phẳng $(P): 2x+2y-z-3=0$ và hai đường thẳng $d_{1}:\frac{x-1}{1}=\frac{y}{1}=\frac{z+1}{-2}$, $d_{2}:\frac{x-2}{1}=\frac{y}{2}=\frac{z+1}{-1}$. Đường thẳng vuông góc với (P), đồng thời cắt cả $d_{1}$ và $d_{2}$ có phương trình là:
Câu 66
$\frac{x-3}{2}=\frac{y-2}{2}=\frac{z+2}{-1}$
Câu 67
$\frac{x-2}{3}=\frac{y-2}{2}=\frac{z+1}{-2}$
Câu 68
$\frac{x-1}{2}=\frac{y}{-2}=\frac{z+1}{-1}$
Câu 69
$\frac{x-2}{3}=\frac{y+1}{2}=\frac{z-2}{-1}$
Trong không gian Oxyz, cho tứ diện có điểm $A(1;0;-2)$, $B(2;1;-1)$, $C(1;-2;2)$, $D(4;5;-7)$. Trên các cạnh AB, AC, AD lần lượt lấy các điểm B', C', D' thoả mãn $\frac{AB}{AB^{\prime}}+\frac{AC}{AC^{\prime}}+\frac{AD}{AD^{\prime}}=8$. Khi tứ diện $AB^{\prime}C^{\prime}D^{\prime}$ có thể tích nhỏ nhất mặt phẳng (B'C'D') có phương trình dạng $6x+my+nz+p=0 (m,n,p\in\mathbb{N})$. Tính $m^{2}-n-p$.
Câu 70
3.
Câu 71
-3.
Câu 72
7.
Câu 73
7
Câu 74
Ông Thành vay ngân hàng 2,5 tỷ đồng và trả góp hàng tháng với lãi suất 0,51%. Hàng tháng, ông Thành trả 50 triệu đồng (bắt đầu từ khi vay). Hỏi sau 36 tháng thì số tiền ông Thành còn nợ là bao nhiêu (làm tròn đến hàng triệu)?
Câu 75
Một ô tô bắt đầu chuyển động nhanh dần đều với vận tốc $v_{1}(t)=2t$ (m/s). Đi được 12 giây, người lái xe gặp chướng ngại vật và phanh gấp, ô tô tiếp tục chuyển động chậm dần đều với gia tốc $a=-12(m/s^{2})$. Tính quãng đường s (m) đi được của ô tô từ lúc bắt đầu chuyển động đến khi dừng hẳn?
Cho hàm số bậc bốn $y=f(x)$ có đồ thị như hình vẽ bên. Số điểm cực trị của hàm số $g(x)=f(x^{3}-3x)$ là:
Câu 76
11.
Câu 77
5.
Câu 78
7.
Câu 79
9.
Cho hàm số $f(x)$ liên tục trên $\mathbb{R}$ và có đồ thị như hình vẽ. Có bao nhiêu giá trị nguyên của tham số m để phương trình $f(f(\cos x))=m$ có nghiệm thuộc khoảng $(\frac{\pi}{2};\frac{3\pi}{2})$?
Câu 80
5.
Câu 81
2.
Câu 82
3.
Câu 83
4.
Câu 84
Một nút chai thủy tinh là khối tròn xoay (H), một mặt phẳng chứa trục của (H) cắt (H) theo một thiết diện như trong hình vẽ bên. Tính thể tích V của (H).
Câu 85
Thương nhau cau sáu bổ ba Ghét nhau cau sáu bổ ra làm mười Số người tính đủ tám mươi Cau mười lăm quả, tính người ghét thương?
Có tất cả bao nhiêu giá trị nguyên của tham số m để phương trình $3^{3x} - 5 \cdot 3^{2x} + 3 \cdot 3^x + 1 - m = 0$ có 3 nghiệm phân biệt $x_1, x_2, x_3$ sao cho $x_1 < 0 \le x_2 < 1 < x_3$ là:
Câu 86
8
Câu 87
7
Câu 88
0
Câu 89
Vô số
Câu 90
Trong không gian $Oxyz$, cho tam giác $ABC$ có $A(2; 1; 1)$, $B(1; 2; 1)$, $C(1; 1; 2)$. Độ dài đường cao kẻ từ A của tam giác là:
Câu 91
Có bao nhiêu giá trị nguyên của tham số $m$ thuộc đoạn $[-10; 10]$ để hàm số $y =\frac{2cosx - 6}{3cosx - m}$ nghịch biến trên khoảng $(0; \frac{pi}{3}$?
Thí sinh đọc Bài đọc 1 và trả lời các câu hỏi: BÀI ĐỌC 1 SỨC KHỎE TÂM THẦN CỦA TRẺ VỊ THÀNH NIÊN VÀ CÁC VẤN ĐỀ SỨC KHỎE TÂM THẦN THƯỜNG GẶP Ở TUỔI VỊ THÀNH NIÊN [1] Tuổi vị thành niên là giai đoạn chuyển giao giữa thời thơ ấu và tuổi trưởng thành. Đó là thời điểm có nhiều thay đổi về thể chất, trí tuệ, tình cảm và xã hội trong cuộc đời của một người. Quá trình chuyển đổi này nắm giữ những cơ hội thú vị để phát triển, cũng như những yếu tố dễ bị tổn thương đối với những người trẻ khi các em cố gắng trở thành những người trưởng thành khỏe mạnh, hạnh phúc và hoạt động hiệu quả. Việc đảm bảo rằng trẻ vị thành niên có tất cả sự hỗ trợ mà trẻ cần trong thời gian quan trọng này là điều cần thiết. [2] Sức khỏe tâm thần làm nền tảng cho sự phát triển lành mạnh và thành công của trẻ vị thành niên. Sức khỏe tâm thần bao gồm tình cảm, tâm lí và xã hội của chúng ta. Nó ảnh hưởng đến cách chúng ta suy nghĩ, cảm nhận và hành động. Nó cũng giúp xác định cách chúng ta xử lí căng thẳng, liên hệ với những người khác và đưa ra lựa chọn. Sức khỏe tâm thần tích cực cho phép trẻ vị thành niên phát huy hết tiềm năng của mình, đương đầu với những căng thẳng trong cuộc sống, học tập và làm việc hiệu quả, hình thành và duy trì các mối quan hệ lành mạnh, và có những đóng góp có ý nghĩa cho gia đình và cộng đồng. [3] Tuy nhiên, nhiều trẻ vị thành niên trải nghiệm các vấn đề sức khỏe tâm thần đe dọa nghiêm trọng đến sự phát triển lành mạnh của các em. Trên toàn thế giới, các vấn đề sức khỏe tâm thần gây ra gánh nặng bệnh tật cho trẻ vị thành niên. Vào năm 2019, khoảng 15%, tức khoảng 1/7, trẻ vị thành niên trên khắp thế giới gặp các vấn đề về sức khỏe tâm thần (Polanczyk, 2015). Điều này có nghĩa là ước tính có khoảng 175 triệu trẻ em nam và nữ độ tuổi vị thành niên mắc các vấn đề suy nhược về cảm xúc và hành vi, đẩy họ có nguy cơ hơn về mặt xã hội, học tập và sức khỏe kém vào thời điểm quan trọng của cuộc đời. Nhận thức được mức độ to lớn của vấn đề này đối với sức khỏe và hoạt động của các cá nhân và xã hội, các Mục tiêu Phát triển Bền vững của Liên hợp quốc đã đưa sức khỏe tâm thần làm mục tiêu chính, nhằm giảm tỉ lệ tử vong sớm do các bệnh không lây nhiễm xuống 1/3 vào năm 2030 thông qua phòng ngừa và điều trị, và thông qua việc nâng cao sức khỏe tâm thần và sự phát triển toàn diện. [4] Các vấn đề sức khỏe tâm thần phổ biến ở tuổi vị thành niên bao gồm trầm cảm, lo âu và rối loạn hành vi. Đặc trưng của trầm cảm ở tuổi vị thành niên là cảm giác buồn dai dẳng, mất hứng thú và năng lượng, cáu kỉnh, cảm thấy tiêu cực và vô giá trị. Trên toàn thế giới, trầm cảm là nguyên nhân đứng hàng thứ tư gây ra bệnh tật và tàn tật ở trẻ vị thành niên từ 15-19 tuổi và thứ mười lăm đối với những người từ 10-14 tuổi. Trẻ em gái và phụ nữ trẻ có nguy cơ mắc chứng rối loạn trầm cảm và cố gắng tự làm hại bản thân cao hơn gấp ba lần so với trẻ em trai (WHO, 2014). Tất cả trẻ vị thành niên đều có thể thất thường hoặc cáu kỉnh, nhưng trầm cảm gây ra những thay đổi nghiêm trọng về cảm xúc, hành vi và nhận thức ở những người trẻ tuổi, khiến họ rất khó tham gia vào trường học, duy trì mối quan hệ với bạn bè và gia đình cũng như hình dung một tương lai tươi sáng. Nếu trầm cảm kéo dài không được điều trị, trẻ vị thành niên có nguy cơ bỏ học, thất nghiệp ở tuổi trưởng thành, lạm dụng chất kích thích, mang thai/làm cha mẹ quá sớm và trầm cảm ở tuổi trưởng thành (Clayborn, Varin, Colman, 2019). Hoạt động chức năng ở khía cạnh tâm lí - xã hội kém thường có liên quan và có thể dẫn đến kéo dài thành những khó khăn suốt đời. [5] Trong những trường hợp nghiêm trọng, trầm cảm có thể dẫn đến tự tử. Trên toàn thế giới, tự tử là nguyên nhân thứ tư gây tử vong ở lứa tuổi 15-19 (WHO, 6/2021). Ước tính có khoảng 62.000 trẻ vị thành niên chết trong năm 2016 do tự làm hại bản thân. 77% số vụ tự tử trên toàn thế giới xảy ra ở các nước có thu nhập thấp và trung bình. Trong khi trẻ em gái tỉ lệ có ý định tự tử cao hơn, thì tỉ lệ trẻ em trai chết do tự tử lại nhiều hơn (12,6% trên 100.000 trẻ em trai so với 5,4% trên 100.000 trẻ em gái). [6] Các phương pháp tự tử phổ biến bao gồm uống thuốc trừ sâu, treo cổ và súng đạn. Các yếu tố nguy cơ dẫn đến tự tử có nhiều khía cạnh, bao gồm lạm dụng rượu, bạo hành trẻ em, sự kì thị đối với việc tìm kiếm sự giúp đỡ, các rào cản trong việc tiếp cận dịch vụ chăm sóc và tiếp cận các phương tiện. Truyền thông qua các phương tiện kĩ thuật số về hành vi tự sát đang là mối quan tâm mới nổi đối với nhóm tuổi này. Ở châu Á, tự tử là một trong những nguyên nhân gây tử vong hàng đầu ở trẻ vị thành niên, và thanh niên châu Á có tỉ lệ từng có ý tưởng tự tử cao (11,7%) và toan tính tự tử (2,4%) ở sáu quốc gia thành viên của Hiệp hội các quốc gia Đông Nam Á (ASEAN) (Blum, Sudhinaraset, & Emerson, Năm 2012; Peltzer, Yi và Pengpid, 2017). [7] Lo âu là một vấn đề sức khỏe tâm thần phổ biến khác ở tuổi vị thành niên. Đặc trưng của lo âu là sự lo lắng và sợ hãi dữ dội, quá mức và dai dẳng. Tất cả trẻ vị thành niên đều có lúc căng thẳng và lo lắng, nhưng những người trẻ mắc chứng rối loạn lo âu sẽ gặp phải tình trạng đau khổ nghiêm trọng về cảm xúc, thể chất và nhận thức và khó tập trung vào những thứ khác ngoài mối lo hoặc mối sợ hãi của mình. Rối loạn lo âu là nguyên nhân thứ chín gây ra bệnh tật và khuyết tật cho trẻ vị thành niên từ 15-19 tuổi và thứ sáu đối với những người từ 10-14 tuổi. Rối loạn lo âu ở trẻ em gái cao hơn trẻ em trai và phổ biến hơn ở giai đoạn sau của độ tuổi thanh thiếu niên. Trẻ vị thành niên mắc chứng rối loạn lo âu có nguy cơ cao mắc chứng lo âu, trầm cảm, lạm dụng ma túy và không thành công trong học tập khi trưởng thành (Woodward và Fergusson, 2001). [8] Bên cạnh đó, nhiều trẻ vị thành niên bị rối loạn hành vi. Rối loạn hành vi bao gồm rối loạn tăng động giảm chú ý (ADHD), đặc trưng bởi khó tập trung chú ý, hoạt động quá mức và hành động mà không để ý đến hậu quả, và rối loạn hành vi, đặc trưng bởi các hành vi phá hoại hoặc thách thức. Trong khi tất cả trẻ vị thành niên đều có thể bị phân tâm, bốc đồng và chấp nhận rủi ro, những người mắc chứng rối loạn hành vi thường gặp khó khăn đáng kể trong việc điều chỉnh sự chú ý, cảm xúc và xung động của mình. Hơn nữa, phản ứng tiêu cực từ bạn bè, giáo viên và cha mẹ đối với những hành vi này có thể dẫn đến hạ thấp lòng tự trọng và gia tăng các hành vi có vấn đề, trẻ vị thành niên dễ bị mắc kẹt trong vòng tròn hành vi tiêu cực và làm kết quả trở nên tồi tệ hơn. Rối loạn hành vi là nguyên nhân thứ hai gây ra khuyết tật ở trẻ vị thành niên từ 10-14 tuổi và là nguyên nhân thứ mười một ở trẻ vị thành niên từ 15-19 tuổi (mặc dù không còn là nguyên nhân hàng đầu gây ra khuyết tật ở trẻ em gái trong độ tuổi này) (Dữ liệu quốc gia của UNICEF, 2019). Rối loạn hành vi khiến trẻ vị thành niên có nguy cơ bỏ học, lạm dụng chất kích thích và hành vi phạm tội, và có thể dẫn đến khó khăn về mặt sức khỏe tâm thần, gia đình, xã hội và kinh tế khi trưởng thành (Colman I, Murray J, Abbott R A, Maughan, 2009). (Trích từ Chương 2, Bài Nghiên cứu toàn diện về các yếu tố liên quan đến trường học ảnh hưởng đến sức khỏe tâm thần và sự phát triển toàn diện của trẻ em nam và nữ vị thành niên tại Việt Nam)
Câu 92
Thông tin nào sau đây KHÔNG được đề cập đến trong văn bản?
Câu 93
Điền một cụm từ không quá hai tiếng từ đoạn [8] để hoàn thành nhận định sau: Theo Dữ liệu quốc gia của UNICEF (2019), rối loạn hành vi là nguyên nhân thứ mười một gây ra _____________ ở trẻ vị thành niên từ 15-19 tuổi.
Câu 94
___________ chính là nền tảng cho sự phát triển lành mạnh và thành công của trẻ vị thành niên. Bài viết đã chỉ ra các ___________ phổ biến và số liệu cụ thể phản ánh những ảnh hưởng tiêu cực từ các vấn đề ấy. Qua đó, tác giả giúp mọi người _____________ được mức độ nguy hại to lớn từ các vấn đề sức khỏe tâm thần của trẻ vị thành niên.
Câu 95
Trong văn bản, ADHD là viết tắt của thuật ngữ nào?
Câu 96
Ở đoạn [5], theo thống kê, vào năm 2016 ước tính có 62.000 trẻ vị thành niên chết do tự làm hại bản thân, chiếm khoảng 77% số vụ tự tử xảy ra ở các nước có thu nhập thấp và trung bình. Đúng hay sai?
Câu 97
Điểm giống nhau giữa đoạn [4], [7], [8] là gì?
Câu 98
Nội dung chính của đoạn [1] và [2] là gì?
Câu 99
Mục đích chính của đoạn [7] trong văn bản là gì?
Câu 100
Điền một cụm từ không quá hai tiếng từ đoạn [4] để hoàn thành nhận định sau: Trầm cảm, lo âu và rối loạn hành vi là các vấn đề sức khỏe tâm thần phổ biến ở tuổi vị thành niên. Các trạng thái như buồn dai dẳng, mất hứng thú và năng lượng, cáu kỉnh, cảm thấy tiêu cực và vô giá trị là _________ của trầm cảm.
Câu 101
Vào năm 2019, ước tính có khoảng 175 triệu trẻ em nam và nữ độ tuổi vị thành niên mắc các vấn đề suy nhược về cảm xúc và hành vi, tương đương với khoảng 15%, tức khoảng 1/7, trẻ vị thành niên trên khắp thế giới gặp các vấn đề về sức khỏe tâm thần. Đúng hay sai?
Thí sinh đọc Bài đọc 2 và trả lời các câu hỏi: BÀI ĐỌC 2 [1] Hộ vốn nghèo. Hắn là một nhà văn, trước kia, với cách viết thận trọng của hắn, hắn chỉ kiếm được vừa đủ để một mình hắn sống một cách eo hẹp, có thể nói là cực khổ. Nhưng bấy giờ hắn chỉ có một mình. Ðói rét không có nghĩa lí gì đối với gã trẻ tuổi say mê lí tưởng. Lòng hắn đẹp. Ðầu hắn mang một hoài bão lớn. Hắn khinh những lo lắng tủn mủn về vật chất. Hắn chỉ lo vun trồng cho cái tài của hắn ngày mỗi ngày một thêm nảy nở. Hắn đọc, ngẫm nghĩ, tìm tòi, nhận xét và suy tưởng không biết chán. Ðối với hắn lúc ấy, nghệ thuật là tất cả; ngoài nghệ thuật không còn gì đáng quan tâm nữa. Hắn băn khoăn nghĩ đến một tác phẩm nó sẽ làm mờ hết các tác phẩm khác cùng ra một thời… [2] Thế rồi, khi đã ghép đời Từ vào cuộc đời của hắn, hắn có cả một gia đình phải chăm lo. Hắn hiểu thế nào là giá trị của đồng tiền; hắn hiểu những nỗi khổ đau của một kẻ đàn ông khi thấy vợ con mình đói rách. Những bận rộn tẹp nhẹp, vô nghĩa lí, nhưng không thể không nghĩ tới, ngốn một phần lớn thì giờ của hắn. Hắn phải cho in nhiều cuốn văn viết vội vàng. Hắn phải viết những bài báo để người ta đọc rồi quên ngay sau lúc đọc. [3] Rồi mỗi lần đọc lại một cuốn sách hay một đoạn văn kí tên mình, hắn lại đỏ mặt lên, cau mày, nghiến răng vò nát sách và mắng mình như một thằng khốn nạn… Khốn nạn! Khốn nạn! Khốn nạn thay cho hắn! Bởi vì chính hắn là một thằng khốn nạn! Hắn chính là một kẻ bất lương! Sự cẩu thả trong bất cứ nghề gì cũng là một sự bất lương rồi. Nhưng sự cẩu thả trong văn chương thì thật là đê tiện. Chao ôi! Hắn đã viết những gì? Toàn những cái vô vị, nhạt nhẽo, gợi những tình cảm rất nhẹ, rất nông, diễn một vài ý rất thông thường quấy loãng trong một thứ văn bằng phẳng và quá ư dễ dãi. Hắn chẳng đem một chút mới lạ gì đến văn chương. Thế nghĩa là hắn là một kẻ vô ích, một người thừa. Văn chương không cần đến những người thợ khéo tay, làm theo một vài kiểu mẫu đưa cho. Văn chương chỉ dung nạp những người biết đào sâu, biết tìm tòi, khơi những nguồn chưa ai khơi, và sáng tạo những cái gì chưa có… [4] Hắn nghĩ thế và buồn lắm, buồn lắm! Còn gì buồn hơn chính mình lại chán mình? Còn gì đau đớn hơn cho một kẻ vẫn khát khao làm một cái gì nâng cao giá trị đời sống của mình, mà kết cục chẳng làm được cái gì, chỉ những lo cơm áo mà đủ mệt? Hắn để mặc vợ con khổ sở ư? Hắn bỏ liều, hắn ruồng rẫy chúng, hắn hi sinh như người ta vẫn nói ư? Ðã một vài lần hắn thấy ý nghĩ trên đây thoáng qua đầu. Và hắn nghĩ đến câu nói hùng hồn của một nhà triết học kia: “Phải biết ác, biết tàn nhẫn để sống cho mạnh mẽ”. [5] Nhưng hắn lại nghĩ thêm rằng: Từ rất đáng yêu, rất đáng thương, hắn có thể hi sinh tình yêu, thứ tình yêu vị kỉ đi; nhưng hắn không thể bỏ lòng thương; có lẽ hắn nhu nhược, hèn nhát, tầm thường, nhưng hắn vẫn còn được là người: hắn là người chứ không phải là một thứ quái vật bị sai khiến bởi lòng tự ái. Kẻ mạnh không phải là kẻ giẫm lên vai kẻ khác để thỏa mãn lòng ích kỉ. Kẻ mạnh chính là kẻ giúp đỡ kẻ khác trên đôi vai mình. Và lại hèn biết bao là một thằng con trai không nuôi nổi vợ, con thì còn mong làm nên trò gì nữa?… Hắn tự bảo: “Ta đành phí đi một vài năm để kiếm tiền. Khi Từ đã có một số vốn con để làm ăn! Sự sinh hoạt lúc này chẳng dễ dàng đâu!”. [6] Từ khi đứa con này chưa kịp lớn lên, đứa con khác đã vội ra, mà đứa con nào cũng nhiều đẹn, nhiều sài, quấy rức, khóc mếu suốt ngày đêm và quanh năm uống thuốc. Từ săn sóc chúng đã đủ ốm người rồi, chẳng còn có thể làm thêm một việc khác nữa. Hộ điên người lên vì phải xoay tiền. Hắn còn điên lên vì con khóc, nhà không lúc nào được yên tĩnh để cho hắn viết hay đọc sách. Hắn thấy mình khổ quá, bực bội quá. Hắn trở nên cau có và gắt gỏng. Hắn gắt gỏng với con, với vợ, với bất cứ ai, với chính mình. Và nhiều khi, không còn chịu nổi cái không khí bực tức ở trong nhà, hắn đang ngồi bỗng đứng phắt lên, mắt chan chứa nước, mặt hầm hầm, vùng vằng đi ra phố, vừa đi vừa nuốt nghẹn. [7] Hắn đi lang thang, không chủ đích gì. Rồi khi gió mát ở bên ngoài đã làm cái trán nóng bừng nguội bớt đi và lòng trút nhẹ được ít nhiều uất giận, hắn tạt vào một tiệm giải khát nào mà uống một cốc bia hay cốc nước chanh. Hắn tìm một người bạn thân nào để nói chuyện văn chương, ngỏ ý kiến về một vài quyển sách mới ra, một vài tên kí mới trên các báo, phác họa một cái chương trình mà hắn biết ngay khi nói là chẳng bao giờ hắn có thể thực hành, rồi lặng lẽ nghĩ đến cái tác phẩm dự định từ mấy năm nay để mà chán ngán. Hắn thừ mặt ra như một kẻ phải đi đày, một buổi chiều âm thầm kia, ngồi trong một làn khói nặng u buồn mà nhớ quê hương. Hắn cũng nhớ nhung một cái gì rất xa xôi… những mộng đẹp ngày xưa… một con người rất đáng yêu đã chẳng là mình nữa. Hắn lắc đầu tự bảo: “Thôi thế là hết! Ta đã hỏng! Ta đã hỏng đứt rồi”. Và hắn nghĩ đến cái tên hắn đang mờ dần đằng sau những tên khác mới trồi ra, rực rỡ hơn… Rồi hắn ra về, thờ thẫn. Những sự bực tức đã chìm đi. Lòng hắn không còn sôi nổi nữa, nhưng rũ buồn. (Trích “Đời thừa”- Nam Cao, Truyện ngắn Nam Cao, NXBVH 2014, tr 105-109)
Câu 102
Hoàn cảnh của nhân vật Hộ trong đoạn trích là?
Sống một mình, chỉ chuyên sáng tác văn chương.
Câu 103
Hoàn cảnh của nhân vật Hộ trong đoạn trích là?
Có vợ, con, nhưng con cái quanh năm ốm đau, khóc mếu suốt ngày đêm.
Câu 104
Hoàn cảnh của nhân vật Hộ trong đoạn trích là?
Hộ vẫn luôn có thể lo lắng cho cuộc sống gia đình dư giả.
Câu 105
Văn bản trên viết về đề tài gì?
Câu 106
Những biểu hiện nào dưới đây thể hiện cho sự “cẩu thả trong văn chương” trong suy nghĩ của Hộ?
Viết văn vội vàng, viết những cái vô vị, nhạt nhẽo, gợi những tình cảm rất nhẹ, rất nông.
Câu 107
Những biểu hiện nào dưới đây thể hiện cho sự “cẩu thả trong văn chương” trong suy nghĩ của Hộ?
Đào sâu, tìm tòi, khơi những nguồn chưa ai khơi và sáng tạo những cái gì chưa có.
Câu 108
Những biểu hiện nào dưới đây thể hiện cho sự “cẩu thả trong văn chương” trong suy nghĩ của Hộ?
Viết những bài báo để người ta đọc rồi quên ngay sau lúc đọc.
Câu 109
Những biểu hiện nào dưới đây thể hiện cho sự “cẩu thả trong văn chương” trong suy nghĩ của Hộ?
Viết những thứ văn bằng phẳng, dễ dãi, chỉ đem một chút mới lạ đến văn chương.
Câu 110
Từ thông tin của văn bản, hãy hoàn thành các nội dung sau: Hộ là một ______________ nghèo mang trong mình nhiều _____________. Anh là người có lí tưởng sống rất cao đẹp. Là một nhà văn, anh đã từng ước mơ có những tác phẩm lớn, có giá trị vượt thời gian. Nhưng từ khi cứu vớt cuộc đời Từ, cưới Từ về làm vợ, anh phải lo cho cuộc sống của cả gia đình chỉ với những đồng tiền ít ỏi của nghề viết văn. Hộ đã rơi vào tình trạng ________________. Tạm gác ước mơ để nuôi gia đình, nhưng nỗi lo cơm áo và những ________________ lương tâm của một nhà văn đã khiến Hộ rơi vào cái vòng luẩn quẩn, không lối thoát, sống một ________________ vô vị, tẻ nhạt.
Câu 111
Dựa vào đoạn [3] và đoạn [5], hãy hoàn thành các nội dung sau: _____________________________: Sự cẩu thả trong bất cứ nghề gì cũng là một sự bất lương rồi. Nhưng sự cẩu thả trong văn chương thật là đê tiện. _____________________________ : Kẻ mạnh không phải là kẻ giẫm lên vai kẻ khác để thỏa mãn lòng ích kỷ. Kẻ mạnh chính là kẻ giúp đỡ kẻ khác trên đôi vai mình. _____________________________: Văn chương chỉ dung nạp những người biết đào sâu, biết tìm tòi, khơi những nguồn chưa ai khơi, và sáng tạo những cái gì chưa có.
Câu 112
Dựa vào đoạn [1], điền các từ không quá hai tiếng có trong bài đọc vào chỗ trống. Hộ là một nhà văn sống có lí tưởng và luôn mang một hoài bão lớn. Hắn khinh thường những lo lắng tầm thường về mặt ____________. Hắn chỉ lo rèn luyện, bồi đắp cho _________ của mình ngày càng thêm nảy nở. Đối với hắn, thứ quan trọng nhất, đáng quan tâm nhất chính là _______.
Câu 113
Dòng nào dưới đây nêu không đúng bi kịch của nhà văn Hộ?
Bi kịch không được sống với đam mê, hoài bão.
Câu 114
Dòng nào dưới đây nêu không đúng bi kịch của nhà văn Hộ?
Bi kịch bị mất tự do.
Câu 115
Dòng nào dưới đây nêu không đúng bi kịch của nhà văn Hộ?
Bi kịch không hoàn thành trách nhiệm của một nhà văn, một người chồng, một người cha.
Câu 116
Dòng nào dưới đây nêu không đúng bi kịch của nhà văn Hộ?
Bi kịch tình yêu đôi lứa.
Câu 117
Hoàn thành câu hỏi bằng cách chọn đáp án Đúng hoặc Sai. Chi tiết “Hộ điên người lên vì phải xoay tiền. Hắn còn điên lên vì con khóc, nhà không lúc nào được yên tĩnh để cho hắn viết hay đọc sách. Hắn thấy mình khổ quá, bực bội quá. Hắn trở nên cau có và gắt gỏng. Hắn gắt gỏng với con, với vợ, với bất cứ ai, với chính mình” đã thể hiện Hộ gặp nhiều ngăn cản từ vợ con nên không thể viết văn, đọc sách. Đúng hay sai?
Câu 118
Đâu KHÔNG PHẢI là đặc sắc nghệ thuật xuất hiện trong đoạn trích trên?
Câu 119
Dựa vào văn bản, điền một từ không quá hai tiếng có trong bài đọc vào chỗ trống. Tác phẩm “Đời thừa” của Nam Cao thuộc chủ nghĩa ____________ .
Đọc văn bản sau và trả lời các câu hỏi: 
Câu 120
Khẳng định nào sau đây là đúng? Một động cơ nhiệt hoạt động tốt có nghĩa là
Câu 121
Phát biểu nào sau đây là đúng hoặc sai?
Nhiệt kế rượu được sử dụng để ghi lại sự thay đổi nhiệt độ của không khí trong các thử nghiệm.
Câu 122
Phát biểu nào sau đây là đúng hoặc sai?
Khi thiết bị làm mát được đặt ở chế độ để làm mát nước đến nhiệt độ 10°C thì nhiệt độ của nước thay đổi nhanh nhất trong khoảng thời gian từ 0 – 100 phút.
Câu 123
Phát biểu nào sau đây là đúng hoặc sai?
Trong các thử nghiệm, nhiệt độ thay đổi chậm lúc đầu và nhanh hơn theo thời gian.
Câu 124
Trong thử nghiệm làm mát nước mặn, khi bộ làm mát của máy lạnh được đặt ở chế độ để làm mát nước đến nhiệt độ 0℃ thì trong 220 phút nhiệt độ của nước là
Câu 125
Trong máy điều hòa không khí, nguồn nhiệt độ thấp là ______, nguồn nhiệt độ cao là ______ và công là do ______ thực hiện.
Câu 126
Trong tủ lạnh của gia đình, nguồn nhiệt độ _______ là buồng chứa thực phẩm, nguồn có nhiệt độ _______ là phòng, nơi đặt tủ lạnh.
Câu 127
Tủ lạnh của gia đình bạn Hoa có hiệu suất K là 4,7. Tủ lạnh lấy nhiệt từ buồng lạnh với tốc độ 250 J trong mỗi chu trình. Công mà hệ thực hiện được trong một chu trình để nó hoạt động có độ lớn là (1) ________J. (Làm tròn đến chữ số thập phân thứ nhất)
Câu 128
Một động cơ ô tô có hiệu suất nhiệt là 22% chuyển động được 95 chu trình trong thời gian một giây và thực hiện một công là 120 HP. Biết rằng 1 HP = 746 W. Phát biểu nào sau đây là đúng hoặc sai?
Công thực hiện trong mỗi chu trình là 942 J.
Câu 129
Một động cơ ô tô có hiệu suất nhiệt là 22% chuyển động được 95 chu trình trong thời gian một giây và thực hiện một công là 120 HP. Biết rằng 1 HP = 746 W. Phát biểu nào sau đây là đúng hoặc sai?
Động cơ nhận năng lượng 3340 J trong mỗi chu trình.
Câu 130
Một động cơ ô tô có hiệu suất nhiệt là 22% chuyển động được 95 chu trình trong thời gian một giây và thực hiện một công là 120 HP. Biết rằng 1 HP = 746 W. Phát biểu nào sau đây là đúng hoặc sai?
Năng lượng mà động cơ thải ra lớn gấp 3,6 lần năng lượng có ích.
Đọc thông tin sau đây và trả lời các câu hỏi:
Câu 131
Điền từ/cụm từ thích hợp vào chỗ trống: Khi sóng điện từ gặp anten _______ thì nó sẽ tạo ra dòng điện cảm ứng biến thiên với cùng ______ với sóng.
Câu 132
Dao động điện từ trong mạch chọn sóng của máy thu khi máy thu bắt sóng là:
Câu 133
Nhận xét sau có đúng khi nói về nguyên tắc phát và thu sóng điện từ không?
Không thể có một thiết bị vừa thu vừa phát sóng điện từ.
Câu 134
Nhận xét sau có đúng khi nói về nguyên tắc phát và thu sóng điện từ không?
□ Để thu sóng điện từ cần dùng một ăng ten.
Câu 135
Nhận xét sau có đúng khi nói về nguyên tắc phát và thu sóng điện từ không?
□ Nhờ có ăng ten mà ta có thể chọn lọc được sóng cần thu.
Câu 136
Nhận xét sau có đúng khi nói về nguyên tắc phát và thu sóng điện từ không?
□ Để phát sóng điện từ phải mắc phối hợp một máy dao động điều hoà với một ăng ten.
Câu 137
Các giai đoạn thu sóng điện từ trong máy thu thanh là: _______ - _______ - _______ - _______ - _______
Câu 138
Trong “máy bắn tốc độ“ xe cộ trên đường:
Câu 139
Bước sóng điện từ mà mạch phát hoặc thu được xác định bằng công thức: $\lambda = 2\pi c \sqrt{LC}$. Mạch dao động của một máy thu vô tuyến gồm cuộn cảm có độ tự cảm $L = 5 \mu H$ và tụ xoay có điện dụng biến thiên từ $C_1 = 10 pF$ đến $C_2 = 250 pF$. Cho $c = 3 \cdot 10^8 m/s$. Dải sóng điện từ mà máy thu được có bước sóng là:
Đọc văn bản sau và trả lời các câu hỏi:
Câu 140
Cho phản ứng: $2NOCl(g) \rightarrow 2NO(g) + \Cl_2(g)$. Năng lượng hoạt hóa của phản ứng này là $100\text{ kJ/mol}$. Ở $350\text{ K}$, hằng số tốc độ của phản ứng là $8 \cdot 10^{-6}\text{ L/(mol.s)}$. Hằng số tốc độ phản ứng của phản ứng này ở $400\text{ K}$ là:
Câu 141
Một phản ứng đơn giản xảy ra ở nhiệt độ $100^\circ\text{C}$. Trong điều kiện có xúc tác và không có xúc tác, năng lượng hoạt hóa của phản ứng lần lượt là: $25\text{ kJ/mol}$ và $50\text{ kJ/mol}$. Nhận định dưới đây là Đúng hay Sai? Khi năng lượng hoạt hóa giảm từ 50 kJ/mol về 25 kJ/mol, tốc độ phản ứng tăng 22050 lần.
Câu 142
Nhận định sau đúng hay sai?
Năng lượng hoạt hóa của một phản ứng hóa học càng lớn thì phản ứng hóa học đó càng dễ xảy ra.
Câu 143
Nhận định sau đúng hay sai?
Tất cả các phân tử hóa học khi đã xảy ra sự va chạm với nhau thì đều xảy ra phản ứng hóa học.
Câu 144
Nhận định sau đúng hay sai?
Tất cả các phân tử hóa học khi đã xảy ra sự va chạm với nhau thì đều là va chạm có hiệu quả.
Câu 145
Nhận định sau đúng hay sai?
Khi $E_a$ càng lớn thì k càng nhỏ, tốc độ phản ứng càng nhỏ.
Câu 146
Sự suy giảm tầng ozone và lỗ thủng tầng ozone $(O_3)$ đã gây ra mối lo ngại về việc gia tăng nguy cơ ung thư da, cháy nắng, mù mắt và đục thủy tinh thể,… Tầng ozone hấp thụ hầu hết các tia cực tím (UV) có hại cho sự sống trên Trái Đất. Các phân tử ozone có thể bị phá hủy theo hai giai đoạn: $Cl + O_3 \rightarrow ClO + O_2$ và $ClO + O_3 \rightarrow Cl + 2O_2$. Chất xúc tác trong quá trình này là ________.
Câu 147
Chọn nhận định sai trong những nhận định dưới đây?
Câu 148
Thực nghiệm cho biết phản ứng $2N_2O_5 (g) \rightarrow 4NO_2(g) + O_2(g)$ ở $45^\circ\text{C}$ có hằng số tốc độ phản ứng là $8,17 \cdot 10^{-3}\text{ s}^{-1}$; $E_a = 103,5kJ/mol$. Hằng số tốc độ phản ứng tại $65^\circ\text{C}$ là:
Đọc văn bản sau và trả lời các câu hỏi: 
Câu 149
Ngâm củ nghệ với ethanol nóng, sau đó lọc bỏ phần bã, lấy dung dịch đem cô cạn để làm bay hơi bớt dung môi. Phần dung dịch còn lại sau khi cô cạn được làm lạnh, để yên một thời gian rồi lọc lấy kết tủa curcumin màu vàng. Từ mô tả ở trên, hãy cho biết, người ta đã sử dụng các kĩ thuật tinh chế nào để lấy được curcumin từ củ nghệ?
Câu 150
Phát biểu sau đúng hay sai? Khi tách hai chất lỏng tan vào nhau bằng phương pháp chưng cất, tính chất vật lí được quan tâm là tính tan của các chất trong dung môi.
Câu 151
Phát biểu sau đúng hay sai?
Câu 152
Phát biểu sau đúng hay sai? Thêm benzene vào ống nghiệm đựng dung dịch nước bromine. Sau một thời gian quan sát thấy màu nâu của bromine phân bố chủ yếu trong lớp nước.
Câu 153
Phát biểu sau đúng hay sai? Kết tinh là phương pháp đơn giản nhưng rất hiệu quả để tinh chế các chất hữu cơ không có khả năng tồn tại ở dạng tinh thể.
Câu 154
Phát biểu sau đúng hay sai? Mật ong để lâu thường thấy có những hạt rắn xuất hiện ở đáy chai. Đó là hiện tượng đông tụ.
Câu 155
Hoàn thành câu sau :
Câu 156
Cây neem (cây thường xanh Ấn Độ) hay còn gọi là cây nim, sầu đâu (tên khoa học Azadirachta indica) được người Ấn Độ dùng hơn 4000 năm nay để làm đẹp và chữa bệnh. Các chiết xuất từ lá neem có thể ức chế sự sao chép của vius Dengue, kháng virus nên có tác dụng điều trị bệnh sốt xuất huyết hiệu quả. Người ta hái một ít lá neem tươi, rửa sạch, cho vào nồi đun kĩ, lọc lấy nước để sử dụng. Hãy cho biết cách làm trên thuộc loại phương pháp tách và tinh chế nào?
Câu 157
Một mẫu hoa hoè được xác định có hàm lượng rutin là 26%. Người ta đun sôi hoa hoè với nước ở $100^\circ\text{C}$ để chiết lấy rutin. Biết độ tan của rutin là 5,2 gam trong 1 lít nước ở $100^\circ\text{C}$ và là 0,125 gam trong 1 lít nước ở $25^\circ\text{C}$. Giả thiết rằng toàn bộ lượng rutin trong hoa hoè đã tan vào nước khi chiết. Làm nguội dung dịch chiết chứa 300 gam hoa hoè ở trên từ $100^\circ\text{C}$ xuống $25^\circ\text{C}$thì thu được bao nhiêu gam rutin kết tinh?
Câu 158
Pent-1-ene và dipentyl ether đồng thời được sinh ra khi đun nóng pentan-1-ol với dung dịch $H_2SO_4$ đặc. Biết rằng nhiệt độ sôi của pentan-1-ol, pent-1-ene và dipentyl ether lần lượt là $1387,^\circ\text{C}$; $30^\circ\text{C}$; $186,8^\circ\text{C}$. Từ hỗn hợp phản ứng, các chất được tách khỏi nhau bằng phương pháp chưng cất. Các phân đoạn thu được (theo thứ tự từ trước đến sau) trong quá trình chưng cất lần lượt là (1) ________, (2) _______, (3) ________.
Đọc văn bản sau và trả lời các câu hỏi:
Câu 159
Thực vật sử dụng nitrogen chủ yếu dưới dạng:
Câu 160
Sơ đồ nào sau đây mô tả quá trình phản nitrate hóa?
Câu 161
Cây không sử dụng được nitơ phân tử $N_2$ trong không khí vì
Câu 162
Câu 163
Điền từ thích hợp vào chỗ trống dưới đây. Nhóm vi sinh vật làm giảm hàm lượng nitrogen trong đất trong hình 1 là vi khuẩn (1) _____.
Câu 164
Phát biểu sau đây đúng hay sai? (1) Chu trình nitrogen là chu trình trao đổi nitrogen giữa các loài sinh vật thông qua chuỗi và lưới thức ăn.
Câu 165
Phát biểu sau đây đúng hay sai? (2) Chu trình sinh địa hóa giúp cho các chất dinh dưỡng và các phân tử duy trì sự sống khác có nguồn cung cấp được tái tạo liên tục.
Câu 166
Phát biểu sau đây đúng hay sai? (3) Trong chu trình sinh địa hóa của nitrogen, nơi có lượng nitrogen dự trữ lớn nhất là trong cơ thể sinh vật.
Câu 167
Phát biểu sau đây đúng hay sai? (4) Nhóm vi khuẩn cố định nitrogen trong đất có khả năng biến đổi nitrogen từ dạng NO3- thành dạng nitrogen phân tử.
Đọc văn bản sau và trả lời các câu hỏi: Năm 1906, Cao nguyên Kaibab ở phía bắc Arizona được Tổng thống Theodore Roosevelt tuyên bố là nơi bảo tồn động vật liên bang. Trước thời điểm này, Kaibab là nơi sinh sống của hươu núi, gia súc, cừu và nhiều loại động vật ăn thịt. Khoảng 4.000 con hươu núi là nguồn thức ăn quan trọng cho chó sói, gấu, sư tử núi và linh miêu sống trên Kaibab và chúng còn phải cạnh tranh với cừu, ngựa và gia súc để giành lấy nguồn cỏ hạn chế của cao nguyên. Khi nơi bảo tồn được tạo ra, tất cả hoạt động săn bắn hươu đều bị cấm nhằm cố gắng bảo vệ "đàn hươu tốt nhất ở Mỹ". Năm 1907, Sở Lâm nghiệp Hoa Kỳ triển khai kế hoạch loại bỏ những kẻ thù tự nhiên của hươu. Cừu và gia súc cũng bị cấm đến Kaibab. Khi hươu được giải phóng khỏi sự kiểm soát và cân bằng tự nhiên từ những sinh vật đối kháng, số lượng trong quần thể bắt đầu tăng lên nhanh chóng. Vào đầu những năm 1920, các nhà khoa học ước tính có tới 100.000 con hươu trên cao nguyên. Sự tăng lên quá mức cùng với sự chăn thả tự do, dịch bệnh bắt đầu tấn công quần thể hươu. Hoạt động săn bắn đã được mở lại nhưng không đủ để làm giảm số lượng hươu. Một số ước tính rằng có tới 60.000 con hươu chết đói trong mùa đông năm 1925 và 1926. Hai nhà khoa học trao đổi quan điểm về "Sự cố hươu Kaibab" Nhà khoa học A Cao nguyên Kaibab nên là một bài học về việc cố gắng can thiệp vào mối quan hệ giữa kẻ săn mồi và con mồi. Đây là một ví dụ điển hình về việc kiểm soát động vật ăn thịt làm tổn thương chính loài mà các nhà bảo tồn đang cố gắng giúp đỡ. Nếu những kẻ săn mồi không bị loại bỏ khỏi Cao nguyên Kaibab, quần thể hươu sẽ phát triển trong điều kiện bình thường và sẽ không phải chịu số phận tàn khốc của nạn đói và bệnh tật. Đây là một trường hợp đạo đức cần được tất cả các nhà sinh vật học chú ý khi xem xét việc kiểm soát động vật ăn thịt và giới thiệu cho các sinh viên sinh học khi họ thực hiện các nghiên cứu sinh thái học. Nhà khoa học B Việc loại bỏ động vật ăn thịt chỉ là một phần nhỏ của thảm họa trên Kaibab và đã bị cường điệu hóa quá mức. Quần thể hươu trên cao nguyên tăng nhanh do nguồn cung cấp thực phẩm tăng lên sau khi loại bỏ các loài cạnh tranh. Nguồn cung cấp lương thực tăng lên cho phép số lượng hươu tăng nhanh và giảm cũng nhanh do các yếu tố còn phụ thuộc vào mật độ của nạn đói và bệnh tật. Trên thực tế, dữ liệu về tổng số lượng hươu cao nhất trên cao nguyên là không đáng tin cậy và có thể chỉ có 30.000 con. Các yếu tố phức tạp hơn so với những gì các nhà sinh thái học ban đầu tin tưởng, nhưng bài học vẫn có giá trị.
Câu 168
Loài sinh vật nào sau đây cạnh tranh nguồn thức ăn trực tiếp với hươu núi?
Câu 169
Sinh vật nào có mức năng lượng lớn nhất trong lưới thức ăn sau đây?
Câu 170
Hai nhà khoa học đều đồng ý với quan điểm việc phá vỡ chuỗi/lưới thức ăn làm mất cân bằng hệ sinh thái.
Câu 171
“Sự phân bố của hươu trong quần thể hươu núi Kaibab trước khi loại bỏ các sinh vật cạnh tranh thì chúng có xu hướng phân bố _______.”
Đọc văn bản sau và trả lời các câu hỏi:
Câu 172
Điền đáp án phù hợp vào chỗ trống. Theo WHO, béo phì là do tích tụ (1)__________ quá mức trong cơ thể.
Câu 173
Nhận định dưới đây đúng hay sai? Theo bảng 1, ở tất cả các nhóm tuổi, tỉ lệ béo phì đều tăng dần qua các năm từ 2007 đến 2016.
Câu 174
Theo bảng 1, trong giai đoạn nghiên cứu, nhóm tuổi luôn có tỉ lệ béo phì cao nhất là
Câu 175
Theo bảng 1, trong giai đoạn nghiên cứu, nhóm tuổi có biến động về tỉ lệ béo phì thấp nhất qua các năm là